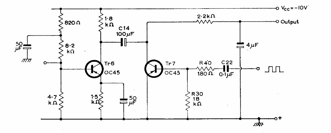
Este circuito foi encontrado no manual de transistores da Mullard de 1960. O circuito emprega transistores de germânio da época e opera em 1,65 kHz.

 


| Clique na imagem para ampliar |

 

 

 

NO YOUTUBE


NOSSO PODCAST