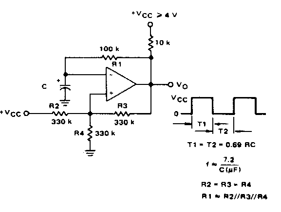
Este circuito convencional de multivibrador astável com amplificador operacional pode ser encontrado em outros pontos deste site. Ele se aplica a qualquer operacional. As fórmulas para cálculo dos componentes estão junto ao diagrama.

 


 

 

 

 

NO YOUTUBE


NOSSO PODCAST