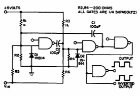
Este circuito foi encontrado num manual de circuitos TTL antigo. O circuito deve ser alimentado por 5V e os capacitores escolhidos de acordo com a faixa de frequências gerada.

Este circuito foi encontrado num manual de circuitos TTL antigo. O circuito deve ser alimentado por 5V e os capacitores escolhidos de acordo com a faixa de frequências gerada.
