Este circuito experimental faz piscar uma lâmpada neon numa frequência que pode ser ajustada numa ampla faixa de valores. Além desta aplicação, os pulsos podem causar pequenos choques, servindo como castigos para jogos e e ainda num pequeno eletrificador.
Descrevemos a montagem de um oscilador de muito baixa frequência, cujos pulsos aplicados a um transformador fazem uma lâmpada neon.
O circuito pode ser usado em sinalização e, como os pulsos são de alta tensão causando pequenos choques, pode ser utilizado como castigo em jogos, num pequeno eletrificador experimental ou ainda em experimentos de biologia.
A alimentação pode ser feita com tensões de 3 a 6 V e a montagem é muito simples.
Como Funciona
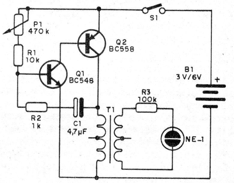
A base do circuito é um oscilador com dois transistores complementares onde a frequência depende basicamente de C1 e do ajuste do potenciômetro.
A carga deste oscilador é o enrolamento de baixa tensão de um pequeno transformador cujo primário pode ser de 110 V, 220 V ou para as duas tensões.
Assim, os pulsos gerados pelo oscilador de baixa tensão se transformam em alta tensão, o suficiente para acender uma pequena lâmpada neon e, em alguns casos sem o resistor, uma pequena lâmpada fluorescente até 15 W.
As piscadas não são intensas, mas perfeitamente visíveis, servindo para sinalização.
Segurando nos fios do enrolamento de alta tensão do transformador é possível perceber choques.
Montagem
Na figura 1 temos o diagrama completo do sinalizador neon.
Como se trata de montagem experimental não crítica, ela pode ser realizada com base numa ponte de terminais com a disposição de componentes mostrada na figura 2.
Na montagem observe as posições e tipos dos transistores além da polaridade das pilhas.
O transformador pode ser de qualquer tipo com tensões de secundário de 5 a 12 V e corrente de 100 mA a 300 mA.
Para usar, basta ligar a alimentação e ajustar no potenciômetro as piscadas da lâmpada neon.
Lista de Material
Q1 – BC548 – transistor NPN de uso geral
Q2 – BC558 – transistor PNP de uso geral
NE-1 – lâmpada neon comum
P1 – 470 k ohms – potenciômetro
T1 – Transformador – ver texto
B1 – 3 ou 6 V – 2 ou 4 pilhas pequenas
S1 – Interruptor simples
C1 – 4,7 uF x 12 V – capacitor eletrolítico
R1 – 10 k ohms x 1/8 W – resistor – marrom, preto, laranja
R2 – 1 k ohms x 1/8 W – resistor – marrom, preto, vermelho
R3 – 100 k ohms x 1/8 w – resistor – marrom, preto, amarelo
Diversos:
Ponte de terminais, suporte de pilhas, fios, solda, etc.

















