Ouça, sem fio, o som de seu programa de TV num rádio comum de FM, ou num aparelho de walkman. Você pode utilizar fones de ouvido e assim não incomodar as pessoas que dormem, principalmente se gostar de ver filmes até altas horas da madrugada. Muito simples de montar, não precisa de adaptação nenhuma nos televisores com saídas para fones e é simples de adaptar no TV.
Obs. Este artigo é de 1986, quando os televisores eram ainda analógicos e monofônicos.
Existem diversas circunstâncias em que ter som remoto para o televisor é interessante.
Uma delas é abordada na introdução, em que podemos fazer uso de fones ligados a um rádio FM portátil ou walkman e, assim, ter a escuta individual do programa sem incomodar outras pessoas que estejam conversando, estudando ou mesmo dormindo.
Outra circunstância é quando desejamos nos afastar da sala em que está o televisor, mas continuar acompanhando o noticiário, novela, etc., mesmo que seja apenas o som.
O aparelho que propomos é extremamente simples e possibilita tudo isso.
Ele é ligado na saída de fones de um televisor que a possua, ou na saída do alto-falante com a adaptação de um jaque, e o que temos é um pequeno transmissor de FM de curto alcance, mas que pode dar “cobertura" de sua casa, com o sinal recebido em qualquer radinho FM ou walkman.
O circuito é alimentado por apenas duas pilhas e tem um consumo de corrente muito baixo.
Como funciona
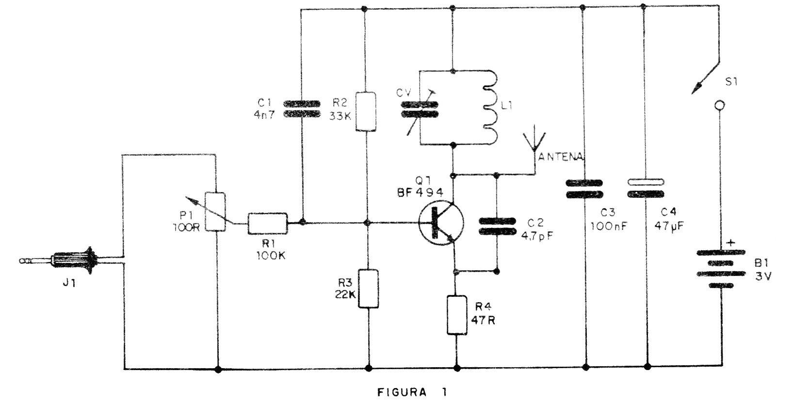
O aparelho consiste num simples transmissor de FM com apenas um transistor BF494 ou BF495.
A bobina L1 em conjunto com CV determina a frequência de operação que deve ser ajustada para um ponto livre da faixa de FM, preferivelmente entre 100 e 104 MHz.
A modulação é feita diretamente na base do transistor pelo sinal de áudio retirado do alto-falante ou saída de fone do televisor.
Como este sinal é forte, não há necessidade de qualquer amplificação adicional.
Precisamos inclusive reduzir sua intensidade para que ele não “sature" o transmissor e com isso ocorra distorção.
O ajuste do ponto ideal de modulação em que ocorre a transmissão numa faixa estreita, sem distorção, é feito em P1.
A antena consiste numa simples varetinha de aço, num fio rígido de uns 15 cm no máximo, ou se o leitor preferir numa pequena antena telescópica.
De qualquer modo, a antena não deve superar os 15 cm, tanto para que a emissão não saia para além dos limites de sua casa, como também para que o circuito não se torne instável.
A alimentação recomendada é de 3 V apenas, já que não necessitamos de potência elevada.
Montagem
Na figura 1 damos o diagrama completo do nosso aparelho de som remoto.
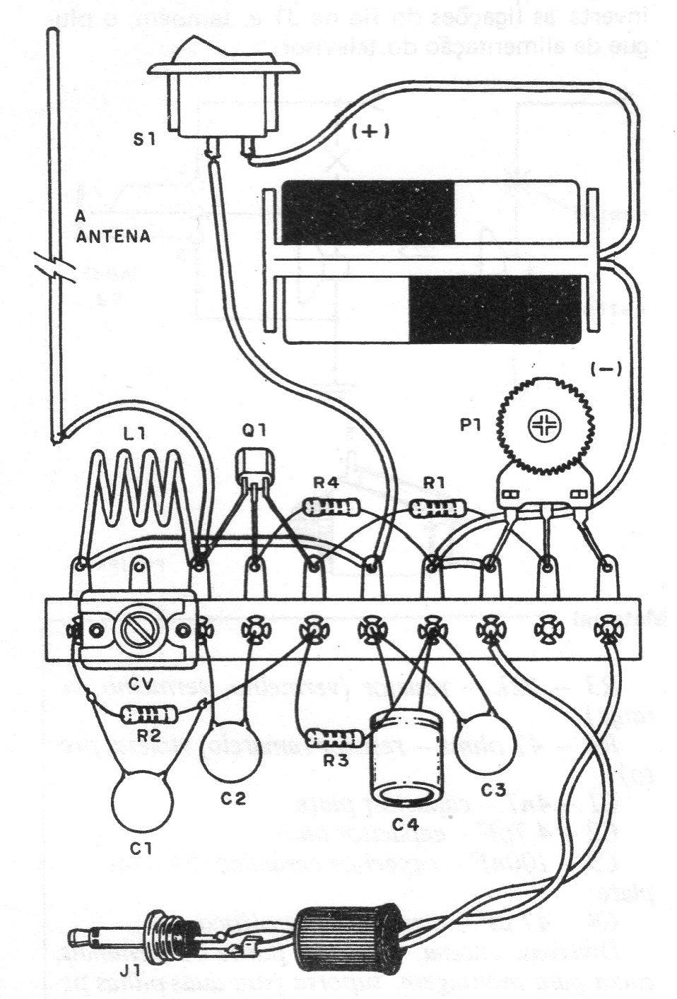
Na figura 2, temos o circuito montado numa ponte de terminais.
O circuito não é crítico, mas a disposição deve seguir ao máximo a do desenho principalmente em relação a fios curtos para C1 e R2, pois pelo contrário podem ocorrer instabilidades.
A montagem numa placa de circuito impresso, cuja sugestão é mostrada na figura 3, permite a realização do aparelho numa forma mais compacta é mais estável.
O único componente que deve ser "fabricado" pelo leitor é a bobina L1, que tem 3 ou 4 voltas de fio comum rígido enroladas num lápis ou outro cilindro mais fino.
O lápis serve apenas de forma, sendo retirado depois da bobina pronta.
Na colocação de CV o leitor deve observar que a armadura externa, ou seja, a placa móvel fica do lado da alimentação (B1 e + ).
Se houver inversão o aparelho ainda funciona, mas seu ajuste pode ser mais difícil devido à instabilidades.
Os capacitores devem ser todos cerâmicos, preferivelmente tipo disco, com exceção de C4 que é um eletrolítico cujo valor, na verdade, pode situar-se entre 22 p F e 100 pF e cuja tensão de trabalho pode ficar entre 3 e 16 Volts.
Os resistores são de 1/8 ou 1/4 e para as pilhas o leitor precisará de um suporte.
Na figura 4 damos uma sugestão de caixa com pequena antena que será colocada sobre o televisor.
Um fio de pelo menos 1 metro para J1 permite seu encaixe na saída de fone do televisor.
Na figura 5 damos o modo de se fazer a ligação de um jaque tipo "circuito fechado" num televisor comum, que não tenha saída de fones.
Quando o plugue J1 é encaixado no jaque, automaticamente é desligado o alto-falante do televisor ficando ativa apenas a saída do fone e, portanto, o som remoto.
Prova e Uso
Terminando a montagem, você não precisa do televisor para fazer os testes iniciais.
Ligue J1 na saída de um radinho comum, AM ou FM, ou mesmo do televisor (saída de fone) se não tiver o rádio disponível.
Pode também ser usada a saída “Monitor" de um gravador cassete. Coloque num programa a médio volume.
Ligue um rádio de FM (aparelho de som, seu walkman ou radinho FM) num ponto livre entre 100 e 104 MHz a uma distância de aproximadamente 3 metros do transmissor.
Ajuste CV, com uma chave plástica ou palito até ouvir o sinal claramente no radinho.
Quando usar com o televisor, ajuste CV para uma frequência que não interfira na imagem, pois em certos. casos isso pode ocorrer.
Ajuste P1 para um som nítido, sem distorção.
Controle também a modulação no controle de volume do televisor. Se houver "ronco" na emissão, inverta as ligações do fio de J1 e, também, o plugue da alimentação do televisor.
Lista de Material
Q1 - BF494 ou BF495 - transistor NPN de RF
P1 - 100 ohms - trimpot
J1 - Plugue P2 ou de acordo com a saída de fone do televisor
L1 - Ver texto
CV - trimmer comum de porcelana ou plástico
B1 – 3 V - 2 pilhas pequenas
SI - Interruptor simples
R1 – 100 k - resistor (marrom, preto, amarelo)
R2 - 33 K resistor (laranja, laranja, laranja)
R3 - 22k ~ resistor (verme1ho, vermelho, laranja)
R4 - 47 ohms - resistor (amarelo, violeta, preto)
C1 ~ 4n7 - capacitor disco
C2 - 4, 7 pF ~ capacitor disco
C3 - 100 nF - capacitor cerâmico disco ou disco
C4 - 47 pF - capacitor eletrolítico
Diversos: antena, placa ou ponte de terminais, caixa para montagem, suporte para duas pilhas pequenas, jaque circuito fechado, fios, solda, etc.




















