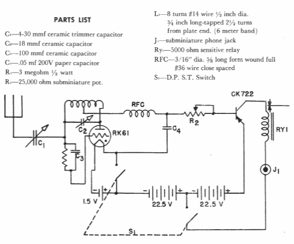
A frequência depende da bobina, não sendo encontrada na documentação original, mas deve estar em torno de 40 MHz pelo número de espiras da bobina. O circuito é de um manual Raytheon dos anos 60.

A frequência depende da bobina, não sendo encontrada na documentação original, mas deve estar em torno de 40 MHz pelo número de espiras da bobina. O circuito é de um manual Raytheon dos anos 60.
