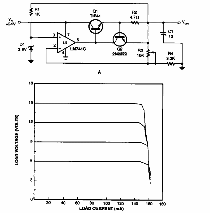
Este circuito foi encontrado numa Popular Electronics dos anos 90. A curva de funcionamento é dada junto ao diagrama. O transistor de potência deve ser dotado de dissipador de calor.
Este circuito foi encontrado numa Popular Electronics dos anos 90. A curva de funcionamento é dada junto ao diagrama. O transistor de potência deve ser dotado de dissipador de calor.