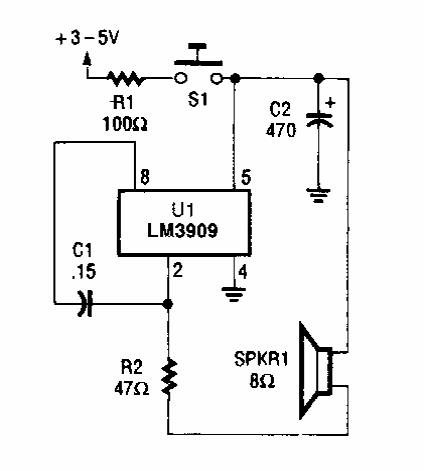
Este circuito com o LM3909 pode ser alimentado com tensões de 3 a 5 V. Encontramos numa Popular Electronics dos anos 90.

 


 

 

 

NO YOUTUBE


NOSSO PODCAST