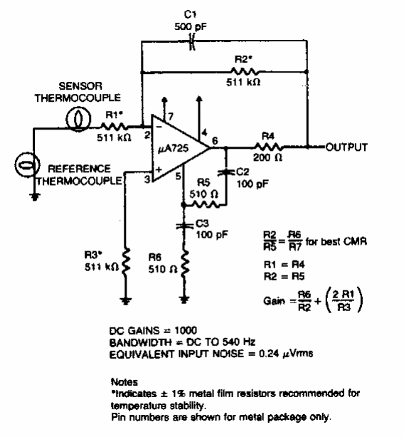
Este circuito utiliza um amplificador operacional dos anos 80. Foi encontrado num manual de amplificadores operacionais da época. As fórmulas junto ao diagrama se destinam ao cálculo dos componentes.

Este circuito utiliza um amplificador operacional dos anos 80. Foi encontrado num manual de amplificadores operacionais da época. As fórmulas junto ao diagrama se destinam ao cálculo dos componentes.
