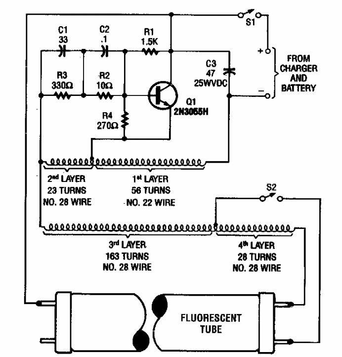
Este circuito, com entrada de 12 V, foi encontrado numa Popular Electronics dos anos 90. São dadas informações sobre o transformador enrolado em ferrite. O transistor deve ser montado em dissipador de calor.
Este circuito, com entrada de 12 V, foi encontrado numa Popular Electronics dos anos 90. São dadas informações sobre o transformador enrolado em ferrite. O transistor deve ser montado em dissipador de calor.