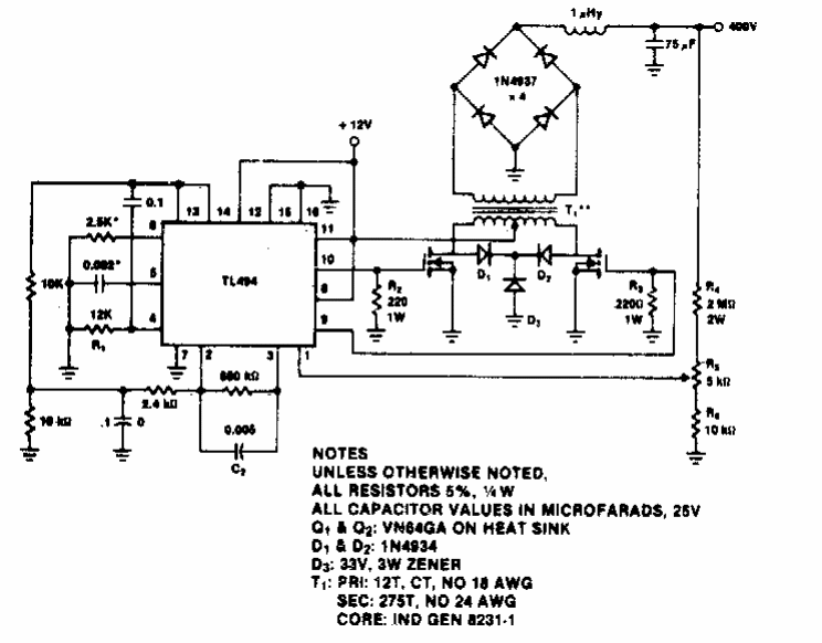
Encontrado numa documentação dos anos 80, este circuito de conversor ou inversor usa componentes da época, operando numa frequência de 100 kHz.

 


| Clique na imagem para ampliar |

 

 

 

NO YOUTUBE


NOSSO PODCAST