)
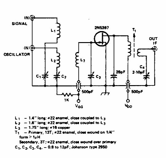
Este circuito foi encontrado numa documentação dos anos 70. O FET admite equivalentes atuais e a frequência dos sinais depende das bobinas empregadas.

)
Este circuito foi encontrado numa documentação dos anos 70. O FET admite equivalentes atuais e a frequência dos sinais depende das bobinas empregadas.
