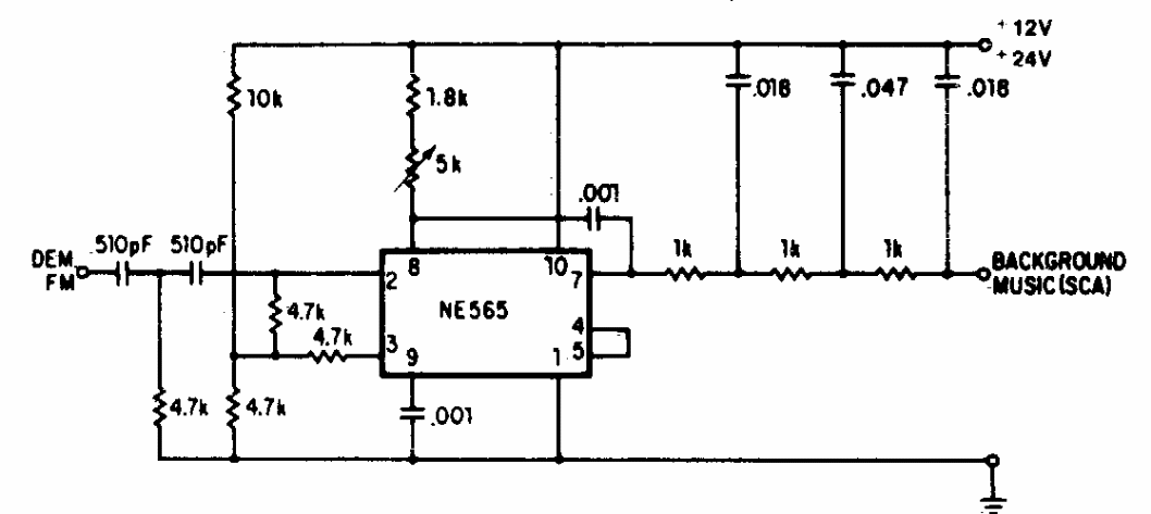
O SCA é um sinal sobreposto aos sinais de FM que possibilitam a eliminação de anúncios. Este circuito é usado quando um rádio FM é usado para som ambiente. O circuito é dos anos 80. O sinal SCA é de 67 kHz.
O SCA é um sinal sobreposto aos sinais de FM que possibilitam a eliminação de anúncios. Este circuito é usado quando um rádio FM é usado para som ambiente. O circuito é dos anos 80. O sinal SCA é de 67 kHz.