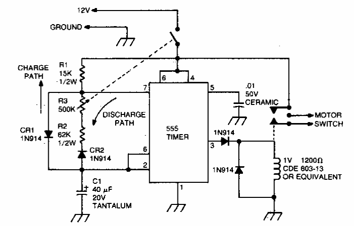
Esta configuração clássica de intervalador para limpador de para-brisas foi encontrada numa documentação americana dos anos 90. O circuito pode ser encontrado com variações em ouros pontos do site.
Esta configuração clássica de intervalador para limpador de para-brisas foi encontrada numa documentação americana dos anos 90. O circuito pode ser encontrado com variações em ouros pontos do site.