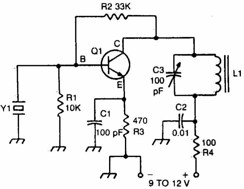
Encontrado numa documentação dos anos 80, este circuito pode gerar sinais numa faixa que chega a alguns megahertz. O circuito ressonante L1 e C3 devem ser de acordo com a frequência gerada.
Encontrado numa documentação dos anos 80, este circuito pode gerar sinais numa faixa que chega a alguns megahertz. O circuito ressonante L1 e C3 devem ser de acordo com a frequência gerada.