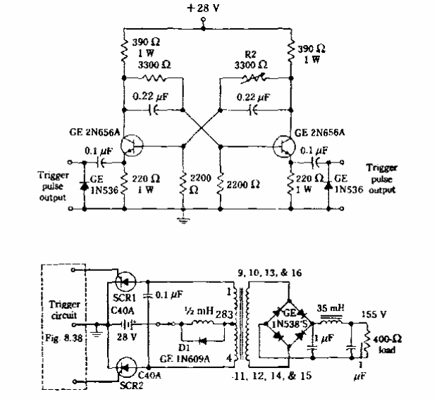
Encontrado em documentação americana dos anos 90, este circuito converte 28 V em 155 V com uma frequência de 60 Hz. Não são dadas informações sobre o transformador usado.

Encontrado em documentação americana dos anos 90, este circuito converte 28 V em 155 V com uma frequência de 60 Hz. Não são dadas informações sobre o transformador usado.
