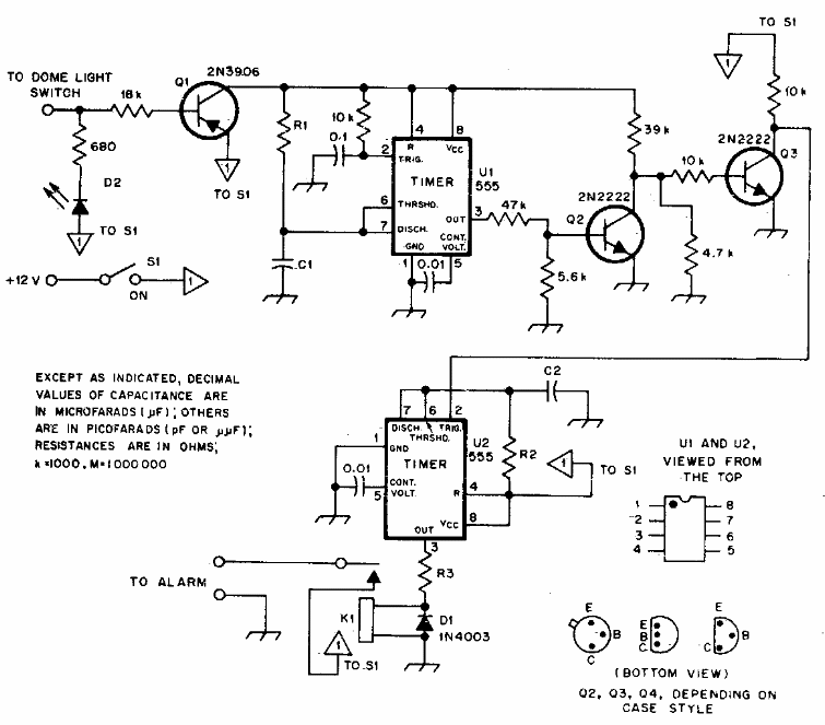
Este é um dos muitos circuitos de alarme para carro com base no 555 que temos em nosso site. Encontramos em documentação americana dos anos 80. O circuito tem dupla temporização.
Este é um dos muitos circuitos de alarme para carro com base no 555 que temos em nosso site. Encontramos em documentação americana dos anos 80. O circuito tem dupla temporização.