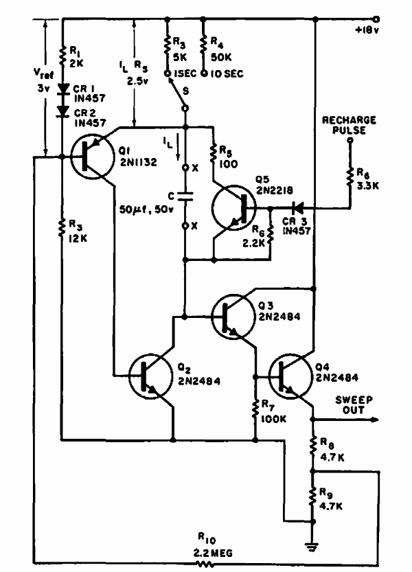
Este circuito linear foi encontrado numa Electronic Design de 1965. Os transistores são da época. Podem ser usados transistores equivalentes modernos. A faixa de sinais vai de 1 a 10 segundos.

Este circuito linear foi encontrado numa Electronic Design de 1965. Os transistores são da época. Podem ser usados transistores equivalentes modernos. A faixa de sinais vai de 1 a 10 segundos.
