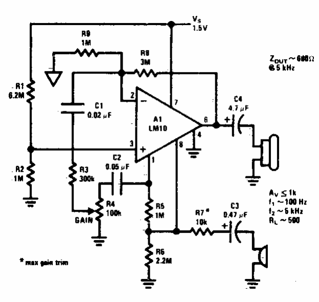
Este amplificador para microfone opera com a tensão de uma pilha. A saída é em fone de ouvido. O circuito integrado usado é pouco comum atualmente.

Este amplificador para microfone opera com a tensão de uma pilha. A saída é em fone de ouvido. O circuito integrado usado é pouco comum atualmente.
