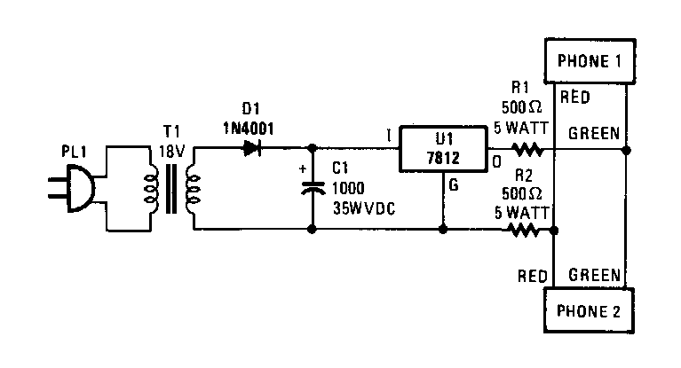
Na figura temos uma das muitas opções encontradas nesta seção para um intercomunicador usando telefones comuns fora de uso. Esta foi obtida numa Popular Electronics dos anos 90.
Na figura temos uma das muitas opções encontradas nesta seção para um intercomunicador usando telefones comuns fora de uso. Esta foi obtida numa Popular Electronics dos anos 90.