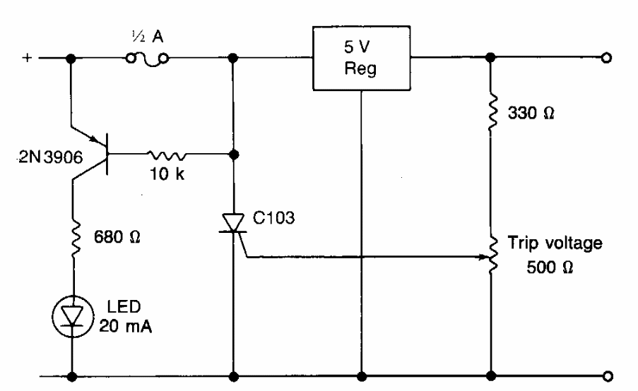
Encontrado em documentação dos anos 90, este circuito dispara o SCR quando há uma sobretensão de modo a provocar a queima rápida do fusível. O SCR pode ser um TIC106.

 


| Clique na imagem para ampliar |

 

 

 

NO YOUTUBE


NOSSO PODCAST