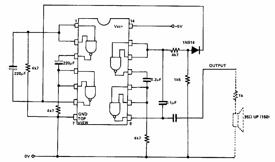
Este circuito, que pode ser visto em outros pontos deste site, foi obtido numa documentação inglesa dos anos 90. O circuito alimenta um pequeno alto falante, mas para maior volume deve ser usado um amplificador externo.
Este circuito, que pode ser visto em outros pontos deste site, foi obtido numa documentação inglesa dos anos 90. O circuito alimenta um pequeno alto falante, mas para maior volume deve ser usado um amplificador externo.