Localizador de metais CIR15004S CB7883E (CIR17972)
Detalhes
Escrito por: Newton C. Braga
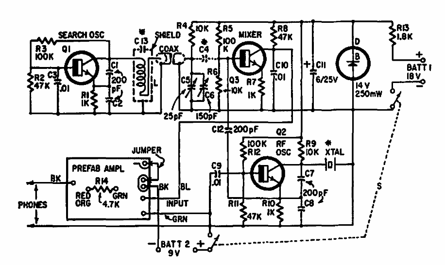
Encontrado em uma documentação de 1966, este “localizador de moedas” usa componentes da época operando em 2,1 MHz. O circuito usa um amplificador de áudio na detecção.