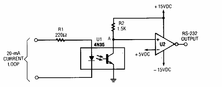
Encontrado numa Popular Electronics dos anos 9, este circuito tem saída para interfaces RS-232 e entrada de corrente. A fonte deve ser simétrica.

 


| Clique na imagem para ampliar |

 

 

 

NO YOUTUBE


NOSSO PODCAST