Inversor para fluorescente CIR15239S CB8120E (CIR18210)
Detalhes
Escrito por: Newton C. Braga
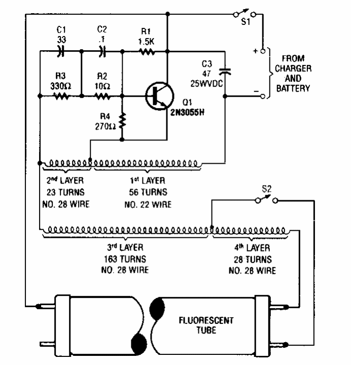
Encontrado numa Popular Electronics dos anos 90, este circuito usa componentes ainda comuns. Sua potência é de 20 W exigindo-se cuidado no enrolamento dos transformadores.