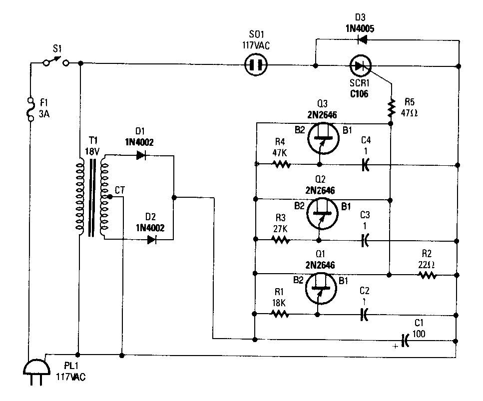
Este circuito faz uma lâmpada incandescente piscar de modo a variar seu brilho com um efeito de vela. O circuito é de uma Popular Electronics antiga, mas os componentes usados são atuais.
Este circuito faz uma lâmpada incandescente piscar de modo a variar seu brilho com um efeito de vela. O circuito é de uma Popular Electronics antiga, mas os componentes usados são atuais.