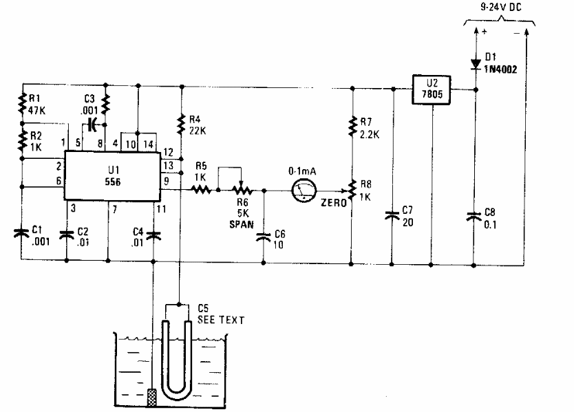
Este interessante sensor capacitivo de nível de água foi encontrado numa Popular Electronics. O circuito pode ser usado como shield. O sensor consiste num tubo de vidro ou outro material impermeável ou mesmo fio encapado que tem um condutor em seu interior. Assim, o condutor e a água formam as placas de um capacitor cuja capacitância muda com o nível da água.
















