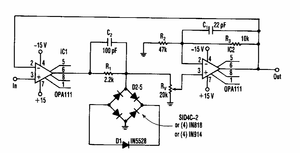
Este circuito foi encontrado numa Electronic Design antiga. Ele faz uso de sidacs e de operacionais não muito comuns atualmente. A fonte de alimentação deve ser simétrica.
Este circuito foi encontrado numa Electronic Design antiga. Ele faz uso de sidacs e de operacionais não muito comuns atualmente. A fonte de alimentação deve ser simétrica.