Em outro projeto descrevemos uma armadilha biológica onde luz visível e ultravioleta (UV) foram usadas para atrair insetos. Nesse projeto, os insetos eram coletados em uma bolsa colocada sob a lamparina. A ideia sugerida aqui é uma armadilha que mata insetos e outras criaturas muito pequenas por uma descarga elétrica de alta tensão.
Nota: Este artigo foi publicado originalmente no livro Bionics for the Evil Genius nos Estados Unidos em 2006 a partir de material obtido de artigos feitos no Brasil em anos anteriores. O que temos é uma tradução da versão em inglês.
Muitas pragas, como baratas, lesmas e pilares de alimentação, podem ser mortas pela descarga produzida pelos eletrodos de alta tensão. Leitor pode adicionar este circuito à armadilha biológica ou usá-lo sozinho, colocando-o onde os insetos estão presentes.
O circuito é alimentado pela rede de energia CA, mas é seguro porque os eletrodos de alta tensão são isolados. Porém, embora não seja perigoso, pode causar choques severos se tocado, por isso o montador deve cuidar de sua instalação, colocando-o onde ninguém tenha acesso aos eletrodos. O circuito também pode ser utilizado como cerca elétrica, mantendo os animais confinados, conforme sugere a Figura 3.15.1. O fio descoberto deve ser isolado nesta aplicação.
Finalmente, temos que dizer que o consumo de energia do circuito é muito baixo. O leitor pode ligar o circuito na linha de abastecimento sem o perigo de uma grande conta de energia no final do mês. O circuito drena menos de 5 watts da linha de alimentação por operar de forma pulsada.
Aplicativos Biônicos
A grande vantagem do matador elétrico é que ele não utiliza substâncias químicas e, portanto, é uma solução "ecológica" para a eliminação de pragas. Ele pode ser usado em muitas aplicações:
• Matar pragas sem o uso de substâncias químicas.
• Capturar insetos e matá-los usando a armadilha biológica.
• Fazendo experimentos com condicionamento de insetos.
• Criação de cerca elétrica para confinar os animais.
Como funciona o circuito
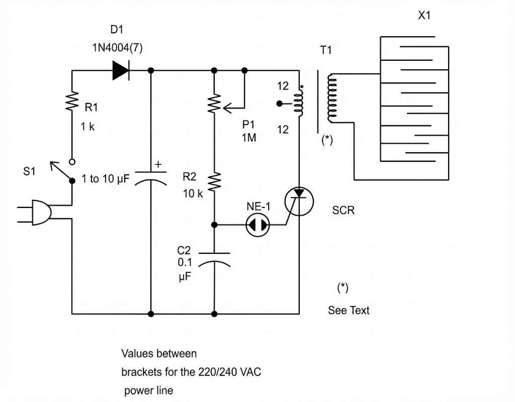
O circuito consiste em um oscilador de relaxação usando uma lâmpada de néon para acionar um retificador controlado por silício (SCR).
O capacitor C1 é carregado por meio de R1 e D1 até que a tensão na lâmpada aumente o suficiente para acioná-lo. Neste momento, as lâmpadas de néon acendem e o capacitor C2 é descarregado pela porta do SCR. O resultado é que o SCR conduz a corrente de descarga de C1 que flui pelo enrolamento de baixa tensão do transformador.
O pulso de alta tensão produzido no secundário é aplicado à lâmpada que pisca por um momento. A taxa de pulso pode ser controlada por P1 e a potência do flash depende do capacitor C1.
O transformador pode ser de qualquer tipo usado em fontes de alimentação, com um primário para 110 volts (VAC), um secundário de 9 a 12 volts e correntes que variam entre 250 e 600 miliamperes.
Embora o primário do transformador seja de 4 a 12 + 12 volts (24 volts), os pulsos aplicados a este componente podem atingir 80 volts ou mais. Isso significa que a tensão induzida no primário não é 110 volts, mas mais alta com pulsos subindo para 400 volts ou mais.
Em alguns casos, o transformador, que não foi projetado para suportar essa tensão, pode apresentar algum (1) vazamento, com faíscas entre as espiras da bobina. Se isso acontecer, encontre outro transformador para a aplicação. P-1
Dependendo dos componentes usados, para compensar as tolerâncias C2 pode ser alterado e valores que variam de 0,1 a 0,47 µF podem ser testados.
Para operar a partir da linha de alimentação 220/240 VAC, altere R1 para 1 kΩ, substitua D1 por um 1N4007 e use o TIC106D para o SCR. Não é necessário montar o SCR em um dissipador de calor, pois ele funciona apenas por curtos intervalos de tempo sem gerar grandes quantidades de calor.
Como construir
Vamos começar com o diagrama esquemático completo do matador de insetos, mostrado na Figura 2.
Como o circuito é muito simples e nenhum circuito integrado (IC) é usado, ele pode ser montado usando uma régua de terminais como chassi. A Figura 3 mostra a localização do componente para esta montagem.
Essa maneira simples de montar é ideal para iniciantes que não têm recursos para fazer uma placa de circuito impresso (PCB). Ao montar, tome cuidado com as posições dos componentes polarizados, como diodos, capacitor e SCR.
A Armadilha
A armadilha é feita com um pedaço de madeira e alguns fios descobertos, conforme mostrado na Figura 4.
A distância entre os fios pode variar de 0,4 a 1 centímetro, dependendo do tamanho dos insetos a serem mortos. Essa distância é determinada pelo fato de que o inseto deve tocar dois fios ao mesmo tempo para receber a descarga elétrica. Os fios para o circuito devem ser isolados e o comprimento máximo é de 3 metros.
Testando e usando
O teste é fácil. Conecte o circuito na linha de alimentação CA e conecte a saída do circuito a uma lâmpada fluorescente, conforme mostrado na Figura 5.
Ajustando P1, a lâmpada piscará, indicando a geração de pulsos de alta tensão. Se você é um sujeito corajoso, conecte a armadilha no circuito e verifique a descarga, tocando os fios com os dedos. Faça ajustes até conseguir produzir os flashes mais brilhantes na lâmpada fluorescente.
Agora você pode usar o matador de insetos. Use alguma substância (açúcar para baratas, por exemplo) e coloque o assassino em um lugar onde você julgar que os insetos estão.
Importante
O circuito não tem problemas com curtos. Mesmo que um inseto morra fazendo uma ponte entre os fios, isso não causará problemas para o circuito.
Lista de Peças
Peças Requeridas
SCR: TIC106B (linha de energia 110 VAC) ou TIC106D (220/240)
D1: 1N4004 (110 VAC) ou 1N4007 (220/240 VAC) diodo retificador de silício
NE-1: NE-2H ou lâmpada de néon equivalente
R1: resistor de fio enrolado de -470 Ω x 10 W (110 VAC) ou 1Ω x 10 W (220/240 VAC)
R2: resistor de 10 kΩ x 1/8 W, marrom, preto, laranja
R3: resistor 47 kΩ x 1/8 W, amarelo, violeta, laranja
P1: 1 MΩ lin ou potenciômetro log
C1: capacitor eletrolítico de 4,7 a 22 µF x 200 V (117 VAC) ou 400 V (220/240 V)
C2: 0,1 µF x 100 V ou mais capacitor de poliéster
T1; Transformador (ver texto)
X1: Eletrodos (ver texto)
Outros: PCB ou régua de terminais, cabo de alimentação, caixa de plástico, fios, etc.
Circuitos e ideias adicionais
Altas tensões podem ser geradas por muitas configurações eletrônicas diferentes. Alguns deles são discutidos na próxima seção.
Alta Tensão
Tensões muito altas podem ser geradas usando um transformador horizontal ou um transformador flyback, como o mostrado na Figura 6 no circuito básico.
Este transformador vai substituir o T1 no circuito básico e pode gerar pulsos de tensão que chegam a 10.000 volts, com certeza o suficiente para matar qualquer inseto, independentemente de seu tamanho! Para tanto, o leitor deve fazer o primário do transformador, colocando de 20 a 30 espiras de fio comum no núcleo do transformador, como mostra a figura.
Outra mudança no projeto é colocar os fios com certo espaço entre eles. Distâncias entre 0,5 e 1 centímetro serão necessárias para evitar que faíscas sejam produzidas entre eles. A Figura 7 mostra como conectar a saída flyback aos eletrodos.

Altas tensões também podem ser obtidas a partir de bobinas de ignição, como as usadas em automóveis ou motocicletas. Nesse caso, porém, o leitor deve tomar cuidado ao montar e usar o circuito, pois o primário e o secundário não ficam isolados. Isso significa que os fios da armadilha não serão isolados da linha de alimentação e qualquer toque acidental pode causar um choque grave.
Usando um laser
Uma ideia muito interessante a ser desenvolvida é mostrada na Figura 8. A ideia básica é um scanner que detecte a passagem de uma mosca por um sensor de imagem ou de outra forma.
Quando a mosca é detectada, um laser é acionado, atingindo o inseto. É claro que os lasers de LED simples não seriam poderosos o suficiente para derrubar uma mosca, então lasers de hélio-neon (HeNe) ou ainda mais poderosos devem ser usados (com muito cuidado, é claro).






















