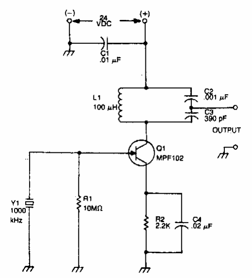
Este oscilador para 1000 kHz controlado por cristal foi encontrado em documentação americana dos anos 80. O símbolo do transistor está errado, pois trata-se de um JFET no texto e pelo número.

Este oscilador para 1000 kHz controlado por cristal foi encontrado em documentação americana dos anos 80. O símbolo do transistor está errado, pois trata-se de um JFET no texto e pelo número.
