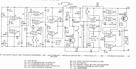
Este circuito foi encontrado num artigo da revista Radio Electronics de maio de 1975. O circuito tem diversos recursos e sua alimentação é feita com fonte ou bateria de 12 V.

Este circuito foi encontrado num artigo da revista Radio Electronics de maio de 1975. O circuito tem diversos recursos e sua alimentação é feita com fonte ou bateria de 12 V.
