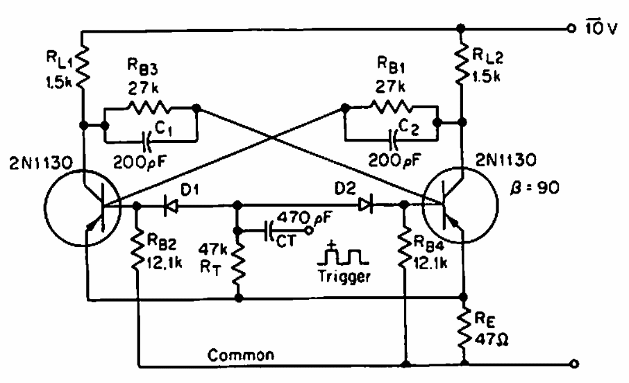
Encontrado em documentação americana, este circuito pode fazer uso de transistores equivalentes modernos. O circuito dispara com pulsos positivos.