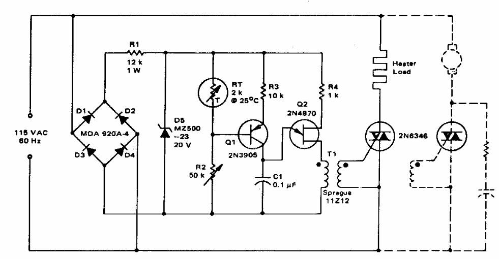
Este circuito de controle para elemento de aquecimento foi encontrado numa documentação antiga. Ele atua diretamente sobre o elemento e um motor de refrigeração. O circuito usa componentes dos anos 80, admitindo equivalentes modernos.
Este circuito de controle para elemento de aquecimento foi encontrado numa documentação antiga. Ele atua diretamente sobre o elemento e um motor de refrigeração. O circuito usa componentes dos anos 80, admitindo equivalentes modernos.