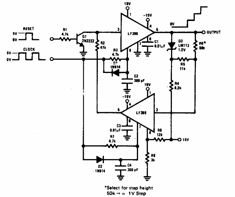
Este circuito foi encontrado num manual de circuitos integrados dos anos 80. O circuito pode ser elaborado com base em amplificadores operacionais modernos.

 


| Clique na imagem para ampliar |

 

 

 

NO YOUTUBE


NOSSO PODCAST