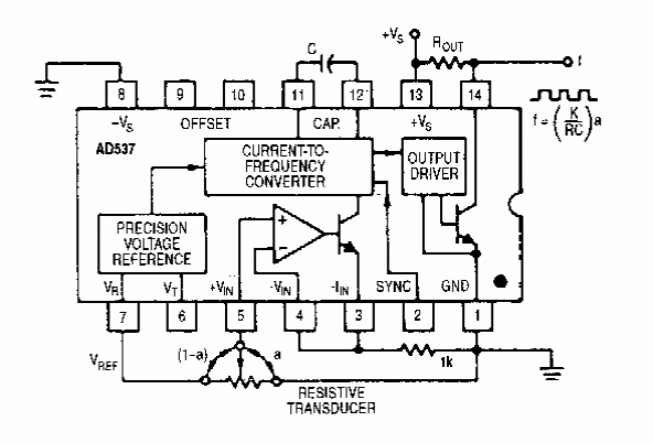
Encontramos este circuito numa documentação da Analog Devices dos anos 90. O circuito se baseia em componente da época, pouco comum atualmente. Trata-se do AD537.

 


 

 

 

NO YOUTUBE


NOSSO PODCAST