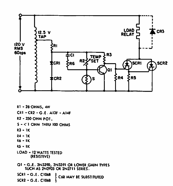
Este circuito para elementos de aquecimento foi obtido num manual da General Electric de 1966. Os SCRs são de acordo com a carga e o sensor é de 1 ohm.

 


| Clique na imagem para ampliar |

 

 

 

NO YOUTUBE


NOSSO PODCAST