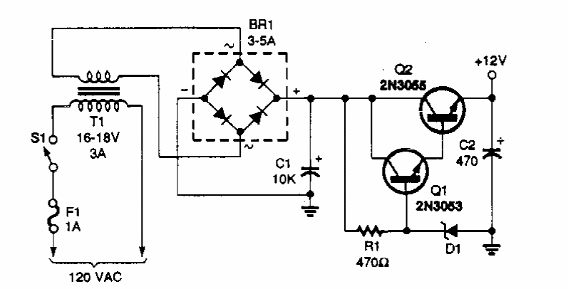
Esta fonte simples de 12 V com corrente até 2 A foi encontrada numa Popular Electronics dos anos 90. O diodo zener é de 14 V e o transistor Q2 pode ser um TIP42.

 


| Clique na imagem para ampliar |

 

 

NO YOUTUBE


NOSSO PODCAST