Sensor de temperatura CIR17715S CB10173E (CIR20211)
Detalhes
Escrito por: Newton C. Braga
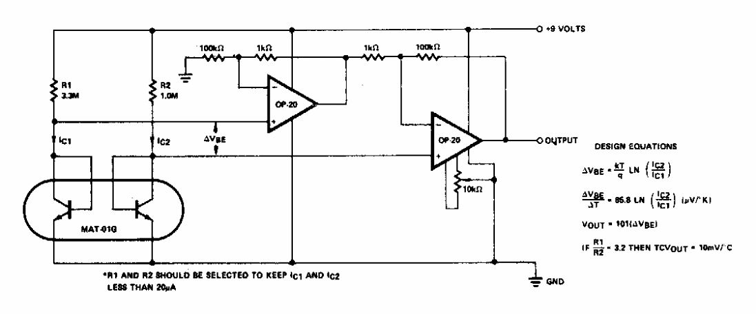
O sensor de temperatura neste circuito dos anos 80 é um par de transistor num invólucro único. Podem ser usados amplificadores operacionais equivalentes modernos.