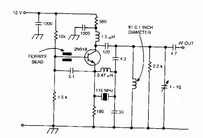
A frequência deste circuito depende do cristal usado. O transistor admite equivalente moderno. Encontramos numa documentação dos anos 80.

 


| Clique na imagem para ampliar |

 

 

 

NO YOUTUBE


NOSSO PODCAST