Chave de toque ou proximidade CIR17033S CB9568E (CIR19616)
Detalhes
Escrito por: Newton C. Braga
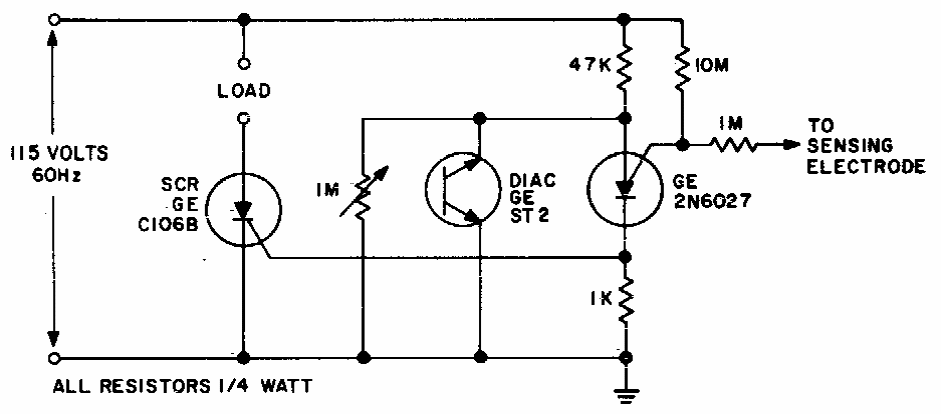
Encontramos este circuito numa documentação da General Electric dos anos 80. Ele aparece de outras fontes nesta seção. O circuito faz uso de diacs e SCRs da época.