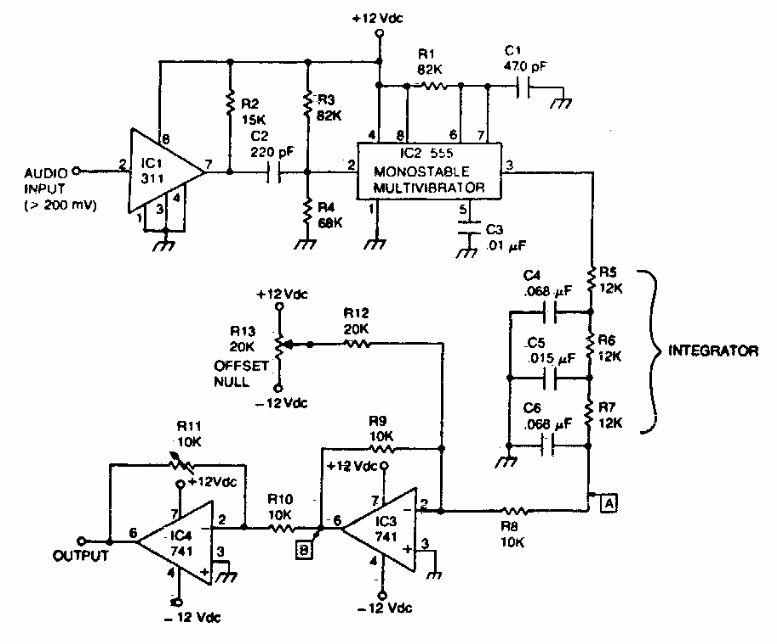
Encontrado em documentação americana antiga, este circuito demodula sinais de 1 kHz a 10 kHz para aplicações em telemetria usando a faixa de FM.

 


| Clique na imagem para ampliar |

 

 

 

NO YOUTUBE


NOSSO PODCAST