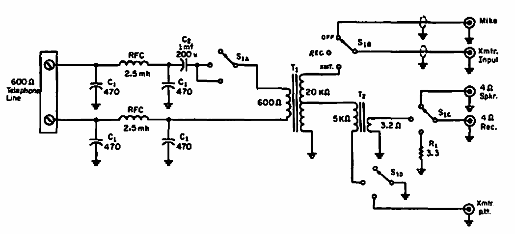
Este circuito foi encontrado numa revista CQ de 1969. Ele se destina ao acoplamento de telefones em equipamentos de radioamadores.

 


| Clique na imagem para ampliar |

 

 

 

NO YOUTUBE


NOSSO PODCAST