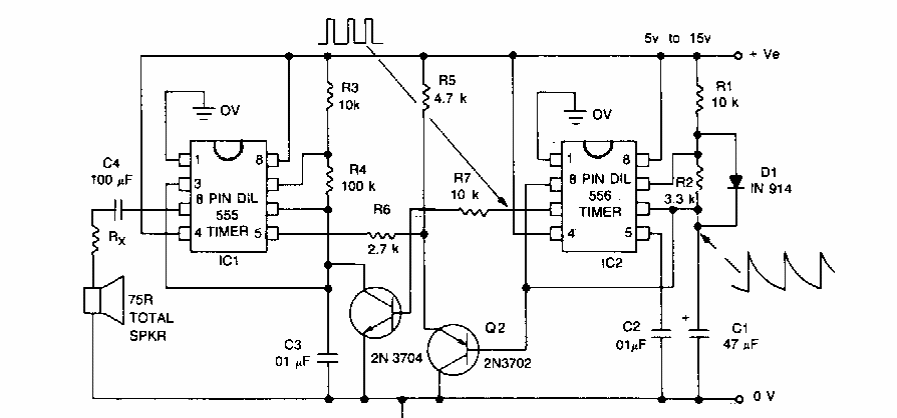
Este é mais um dos circuitos do alerta vermelho da Star Trek que você pode encontrar neste site. Tiramos esta versão de uma publicação inglesa dos anos 80.

 


| Clique na imagem para ampliar |

 

 

NO YOUTUBE


NOSSO PODCAST