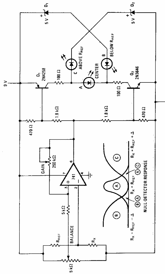
Usando comparadores, este circuito pode ser utilizado numa ponte de medidas. A indicação de equilíbrio é feita através de LEDs. Encontramos o circuito numa antiga documentação americana.

Usando comparadores, este circuito pode ser utilizado numa ponte de medidas. A indicação de equilíbrio é feita através de LEDs. Encontramos o circuito numa antiga documentação americana.
