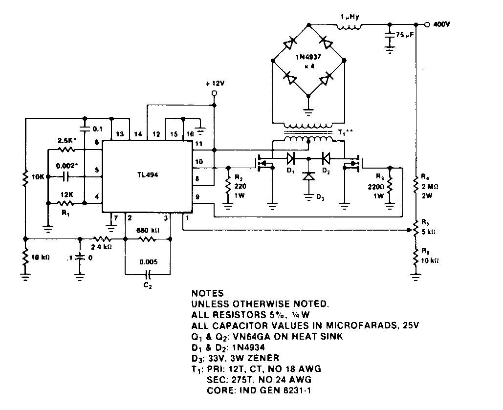
Encontrada em documentação da Siliconix dos anos 90, esta fonte de alta tensão usa componentes da época. Os MOSFETs podem ser equivalentes atuais.

 

 


| Clique na imagem para ampliar |

 

 

 

NO YOUTUBE


NOSSO PODCAST