Chave operada por luz CIR15379S CB8251E (CIR18341)
Detalhes
Escrito por: Newton C. Braga
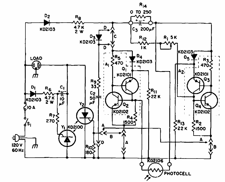
Este circuito foi obtido em documentação da RCA dos anos 80. O circuito faz uso de componentes da época. Esses componentes podem ser substituídos por equivalentes modernos.