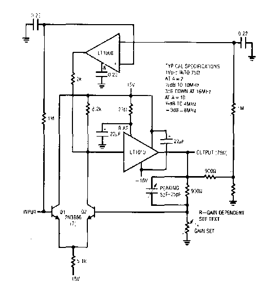
Este circuito foi obtido numa documentação da Linear Technology dos anos 90. O circuito faz uso de componentes da época e tem ganhos entre 1 e 10. A faixa passante chega aos 4 MHz.

Este circuito foi obtido numa documentação da Linear Technology dos anos 90. O circuito faz uso de componentes da época e tem ganhos entre 1 e 10. A faixa passante chega aos 4 MHz.
