Inversor de 20 V AC com 50 W CIR14423S CB7120E (CIR17383)
Detalhes
Escrito por: Newton C. Braga
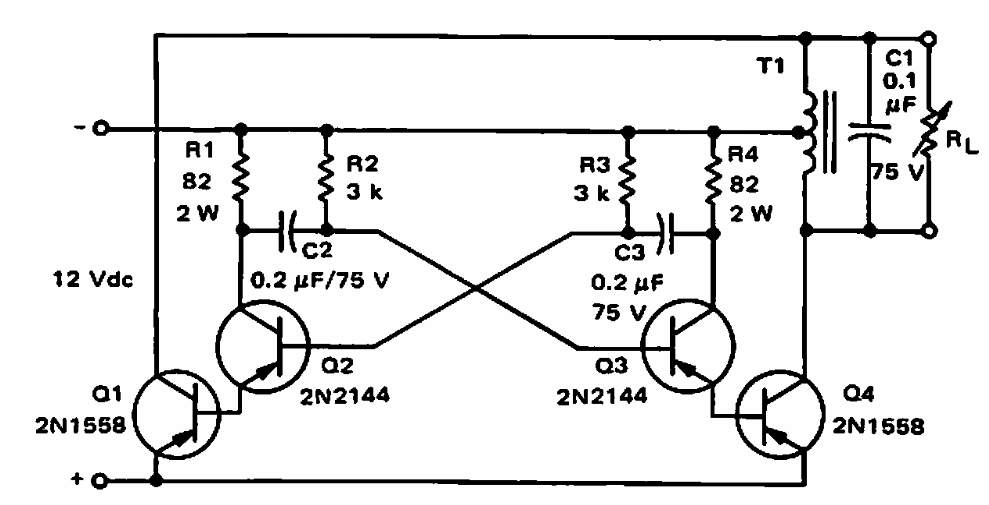
Encontrado numa documentação da Motorola de 1968 este circuito opera em 1 kHz podendo fornecer 20 V a partir de 12 V. Os transistores admitem equivalentes modernos.