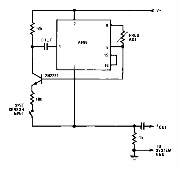
Encontrado numa documentação da National Semiconductor dos anos 90, este circuito produz um tom para ser enviado por comando de dois fios para um controle remoto.

Encontrado numa documentação da National Semiconductor dos anos 90, este circuito produz um tom para ser enviado por comando de dois fios para um controle remoto.
