Temos diversos artigos em nosso site tratando deste fabuloso componente, de suas características e muitos projetos que o utilizam. Até fizemos uma live e posts tratando do uso ainda em nossos dias desse componente e dos cuidados que devemos ter para não comprar tipos falsificados que, por não terem as características esperadas, queimam com facilidade. Neste artigo vamos continuar a tratar desse componente, atualizando o tema.
Nota: Links para muitos artigos no site estão no final deste e também sugerimos digitar 2N3055 na busca. Este artigo é de junho de 2024.
O 2N3055
Este importante transistor de potência que se tornou o “pai” de todos foi criado pela RCA (Radio Corporation of America) nos anos 60 usando uma nova tecnologia, a homotaxial.
Esta tecnologia substituía a epitaxiai que até então era a mais usada na fabricação de transistores de potência. Naquela época uma boa parte dos transistores de potência ainda era de germânio.
O 2N3055 original era de metal pesado e tinha um invólucro TO-3 conforme mostra a figura.

Nesse invólucro de metal, como usual neste tipo de componente o coletor era ligado na carcaça. A pastilha ficava em contato com ela na região do coletor facilitando assim a transferência de calor para o dissipador. Na figura 2 a disposição dos terminais.

No entanto, com o passar do tempo, o 2N3055 se tornou tão popular que surgiram outras versões, outros fabricantes e, é claro, as versões falsificadas (fake) que até hoje inundam nosso mercado.
As características
O 2N3055 original tenha uma grande capacidade de dissipação de calor e podia trabalhar com correntes de até 15 A.
Muitos pensavam que “esses 15 A” eram de qualquer maneira esquecendo que a operação de qualquer dispositivo semicondutor, como os transistores, estava sujeita a certas limitações dadas pelo que denominamos SOA (Safe Operating Area) ou Área de Operação Segura, conforme mostra a figura 3.
O 2N3055 é feito para operar com até 100 V de tensão de coletor e tem uma dissipação máxima de 115 W. No entanto, se você colocar 100 V e fazer com que conduza 15 A, é fácil ver que 15 x 100 = 1 500 W. O transistor teria de dissipar 1 500 W e ele só consegue 115. Queimaria na certa.
Assim, a tensão pode chegar ao máximo até certo ponto, conforme vemos pelo gráfico. Aumentando a corrente a tensão máxima cai e existe um limite. Assim, comuns 60 V, a corrente máxima será de apenas 2 A.
Por esse motivo, muitos se iludem que podem fazer uma fonte de 12 V com 15 A com apenas um 3055. Não dá. Para as aplicações normais, não devemos or além de 5 A.
Se quisermos maior corrente, precisamos ligar diversos deles em paralelo. Mais adiante veremos como fazer isso.
O mundo do 2N3055
Uma primeira versão econômica era a que usava invólucro de alumínio que, no entanto, tinha uma capacidade de dissipação levemente menor, exigindo cuidados principalmente quando o componente tinha de trabalhar no limite. Também tivemos diversos fabricantes entrando no mercado rendoso que esse componente representava, conforme mostra a figura 4.

Também surgiu uma versão plástica de menor dissipação, o TIP3055 fabricado pela Texas Instruments, ST, Philips e outros que também fez e faz sucesso até hoje.

E finalmente temos o complementar, ou seja, o tipo PNP equivalente que logo apareceu para possibilitar o uso do par em amplificadores complementares, por exemplo. Na figura 6, o MJE2935 e o TIP2935.

Dissipador
Um ponto importante a se considerar no uso do 2N3055, suas diversas versões e seus complementares é o dissipador de calor.
O transistor 2N3055 é bipolar e a quantidade de calor desenvolvida é dada pelo produto da corrente que está circulando pela diferença de tensão entre o coletor e o emissor.
Ele esquenta realmente e precisa transferir o calor gerado para o meio ambiente. O uso de um dissipador de calor apropriado e a correta instalação sobre ele é fundamental para que ele não sobreaqueça e queime. Na figura 7 temos o modo de se instalar o 2N3055 na versão metálica no dissipador. No site temos como fazer isso para a versão plástica.

O melhor isolador é o de mica, mas também podem ser usados os de silicone que é um excelente condutor de calor. Pasta entre o transistor e o isolador e entre o isolador e o dissipador é recomendada.
Observe o uso das buchas isolantes (isolador) que impedem que acidentalmente o transistor se desloque na montagem e seus terminais encostem no dissipador, causando curto.
Fakes
Mas, também temos as versões fakes que são vendidas por fornecedores desonestos que comprar, por sua vez de fabricantes desonestos ou arrematam em lotes de origem duvidosa, muitas vezes recarimbando um transistor parecido (mas de características diferentes) com o nome 2N3055.
Na figura 8 temos um exemplo de transistor 2N3055 verdadeiro e um falso quando abertos. Infelizmente eles não são vendidos em invólucros transparentes para que possamos verificar isso!

Observe a largura dos contatos que no verdadeiro é bem mais largo. Por esses contatos o calor também é dissipador o que significa maior eficiência do tipo verdadeiro. No falso temos fios extremamente finos para esses contatos que não conseguem atuar também como dissipadores de calor.
Mas, o fato mais marcante está nas dimensões dos chips. Elas determinam a capacidade de corrente e de dissipação do componente que no tipo da direita é visivelmente menor.
Enfim, os tipos falsos existem e outras características podem revelar isso. Ganho, frequência de transição, etc.
Ligando em paralelo
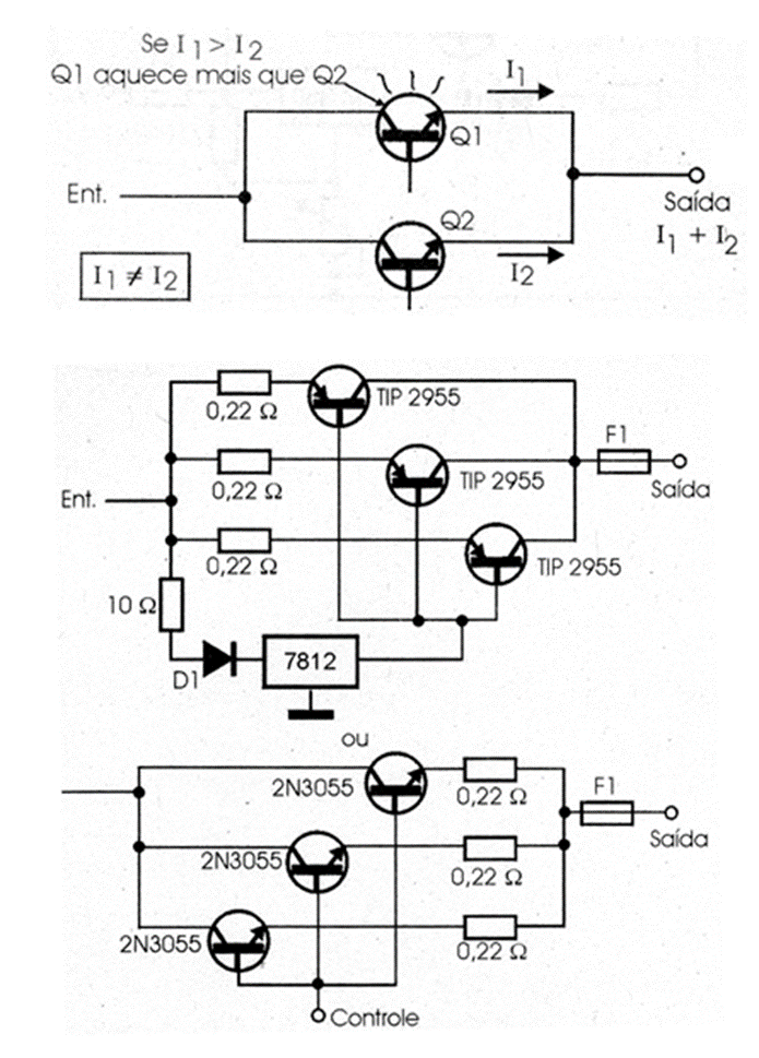
Não devemos exigir mais do que uns 5 A de um 2N3055 numa aplicação. Se precisarmos de mais, devemos ligá-los em paralelo, mas isso não pode ser feito de maneira simples e direta.
Se ligarmos dois 2N3055 para controlar uma corrente de 10 A numa fonte não podemos garantir que a corrente se divida exatamente por igual entre os dois. Os transistores têm pequenas diferenças de ganho, por exemplo.
Se num deles passar 7 A e no outro 3 além de um aquecer mais que o outro, pode haver a queima do que está sobrecarregado.
Uma maneira de se garantir que a corrente se distribua igualmente entre os transistores é ligando em seus emissores um resistor de valor bem baixo, para não alterar significativamente a corrente, conforme mostra a figura 9.
Resistores de fio de 0,10 a 0,47 ohms com dissipações em torno de 2 W são os mais recomendados para esta aplicação.
Versões modernas e equivalentes
O 2N3055 ainda é útil e pode ser aproveitado de uma sucata ou mesmo comprado em oferta, o que pode ajudar num projeto simples. No entanto existem versões modernas de transistores do mesmo tipo que apresentam maior rendimento.
Mas, é preciso ficar esperto. Nem sempre um equivalente é equivalente. O que podemos ter é um substituto. Assim, existem transistores que podem substituir o 2N3055 em algumas aplicações, mas não em todas.
Ao escolher um transistor para substituir o 2N3055 devemos observar a aplicação. Muitos suportam a mesma corrente, tem maior dissipação, mas tem menor ganho. Outros tem a mesma corrente e até tensões maiores, mas a frequência de corte pode ser bem menor e assim por diante. A seguir, uma lista de possíveis substitutos de seu 2N3055 num projeto.
2SB1942
2SC5200
2N3772
MJE13007
MJ2194G
BDY73,
Mais informações e projetos nos links e na busca do site:
Artigos:
https://www.newtoncbraga.com.br/?view=article&id=9182:como-usar-o-transistor-2n3055-art1757&catid=52
https://www.newtoncbraga.com.br/projetos/12972-circuitos-com-o-2n3055-e-tip3555-art1510.html
https://www.newtoncbraga.com.br/projetos/10746-fonte-de-alta-corrente-art255.html
Live:
https://www.youtube.com/watch?v=iXihwZb4JLE

















